Skip to content

什么是信标数据和社群数据?

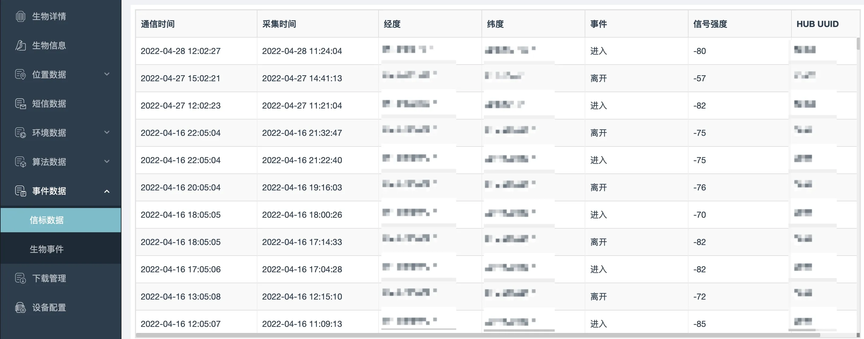
信标数据 显示在终端设备的页面上,用于显示终端设备何时进入或离开不同网关设备的 INTELINK 范围。

当终端设备进入网关设备的 INTELINK 范围时,终端设备会停止采集 GNSS 数据,转而使用网关设备的 GNSS 信息。

注意,信标数据默认为关闭

社群数据 目前会显示在网关设备的页面上,显示某个时间段网关设备 INTELINK 范围内的设备列表。

点击进入设备列表,可以查看终端设备的基本信息,包括电池电量、ODBA等。

注意,社群数据默认为*关闭