為什麼 GNSS 數據為空白?
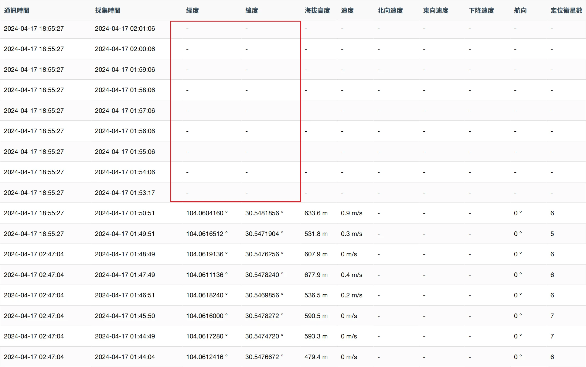
當裝置定位失敗時,裝置列表頁面的“更新位置”欄會顯示 - ,而不是經緯度,如下圖所示:

而且當您在 Ecotopia App 上查看位置數據的數據詳情,或查看下載的位置數據時,您會發現經度和緯度的值均為 200.00000。

造成定位失敗的原因主要包括:
- GNSS 信號差
茂密的樹林、強磁場環境、貼近大型水體等都有可能對 GNSS 信號造成干擾或阻擋,從而導致定位失敗。 - 天線損壞
因不可抗力原因,例如生物被捕食、鳥喙啄等,造成某些裝置的 GNSS 天線,甚至 GNSS 模塊損壞。。